ISO 4032 Hexagon Nuts

ISO 4032 Hexagon Nuts

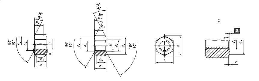
ISO 4032 Hexagon Nuts Dimensions

Nominal Size c da e m s Weight Per Pc
Max Min Max Min Min Max Min Max Min
M1.6 0.2 0.1 2.42 2 3.41 1.3 1.05 3.2 3.02 -
M2 0.2 0.1 3.07 2.5 4.32 1.6 1.35 4 3.82 -
M2.5 0.3 0.1 4.07 3.5 5.45 2 1.75 5 4.82 -
M3 0.4 0.15 4.57 4 6.01 2.4 2.15 5.5 5.32 -
M4 0.4 0.15 5.88 5 7.66 3.2 2.9 7 6.78 -
M5 0.5 0.15 6.88 6 8.79 4.7 4.5 8 7.78 -
M6 0.50 0.15 6.75 6.00 11.05 5.20 4.90 10.00 9.78 -
M8 0.60 0.15 8.75 8.00 14.38 6.80 6.44 13.00 12.73 0.0046
M10 0.60 0.15 10.80 10.00 17.77 8.40 8.04 16.00 15.73 0.0100
M12 0.60 0.15 13.00 12.00 20.03 10.80 10.37 18.00 17.73 0.0151
M14 0.60 0.15 15.10 14.00 23.36 12.80 12.10 21.00 20.67 0.0235
M16 0.80 0.20 17.30 16.00 26.75 14.80 14.10 24.00 23.67 0.0304
M18 0.80 0.20 19.50 18.00 29.56 15.80 15.10 27.00 26.16 0.0435
M20 0.80 0.20 21.60 20.00 32.95 18.00 16.90 30.00 29.16 0.0587
M22 0.80 0.20 23.70 22.00 37.29 19.40 18.10 34.00 33.00 0.0720
M24 0.80 0.20 25.90 24.00 39.55 21.50 20.20 36.00 35.00 0.0983
M27 0.80 0.20 29.10 27.00 45.20 23.80 22.50 41.00 40.00 0.1442
M30 0.80 0.20 32.40 30.00 50.85 25.60 24.30 46.00 45.00 0.2022
M33 0.80 0.20 35.60 33.00 55.37 28.70 27.40 50.00 49.00 0.2584
M36 0.80 0.20 38.90 36.00 60.79 31.00 29.40 55.00 53.80 0.3586
M39 1.00 0.30 42.10 39.00 66.44 33.40 31.80 60.00 58.80 0.4678
M42 1.00 0.30 45.40 42.00 71.30 34.00 32.40 65.00 63.10 0.5908
M45 1.00 0.30 48.60 45.00 76.95 36.00 34.40 70.00 68.10 0.7528
M48 1.00 0.30 51.80 48.00 82.60 38.00 36.40 75.00 73.10 0.8989
M52 1.00 0.30 56.20 52.00 88.25 42.00 40.40 80.00 78.10 1.1251
M56 1.00 0.30 60.50 56.00 93.56 45.00 43.40 85.00 82.80 1.3227
M60 1.00 0.30 64.80 60.00 99.21 48.00 46.40 90.00 87.80 1.5750
M64 1.00 0.30 69.10 64.00 104.86 51.00 49.10 95.00 92.80 1.8190